- Код товара: 94301-A
- Доступность: Нет в наличии
297р.
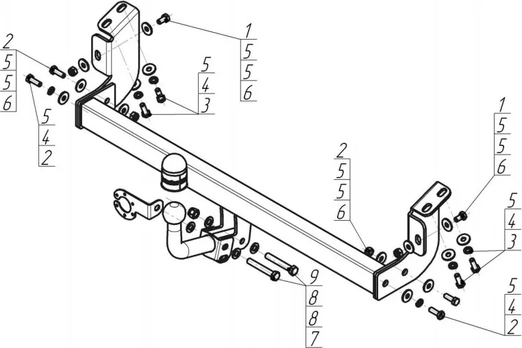
| Характеристики | |
| Толщина | 6 мм |
| Артикул | 94301-A |
| Вес | 13,3 кг |
| Вырез бампера | Нет |
| Двигатель | Бензиновый, V - 0,7 |
| Крепление крюка | Условно съемный крюк (на болтах) |
| Материал | Сталь 8 мм |
| Нагрузка | 750/50 |
| Прочее | Полный привод |
| Размер | 930*260*465 мм |
| Тип шара | A, Оцинкованный |
| Электрика | Приобретается отдельно |
&&&https://cdn.tachka.ru/manuals/motodor/94301a/upload-PDF-94301-A.PDF@@@Инструкция по установке&&&https://cdn.tachka.ru/manuals/motodor/certificate/farkop/certificate-2023-2027.pdf@@@Сертификат
&&&





