- Код товара: 90709-FE
- Доступность: Нет в наличии
761р.
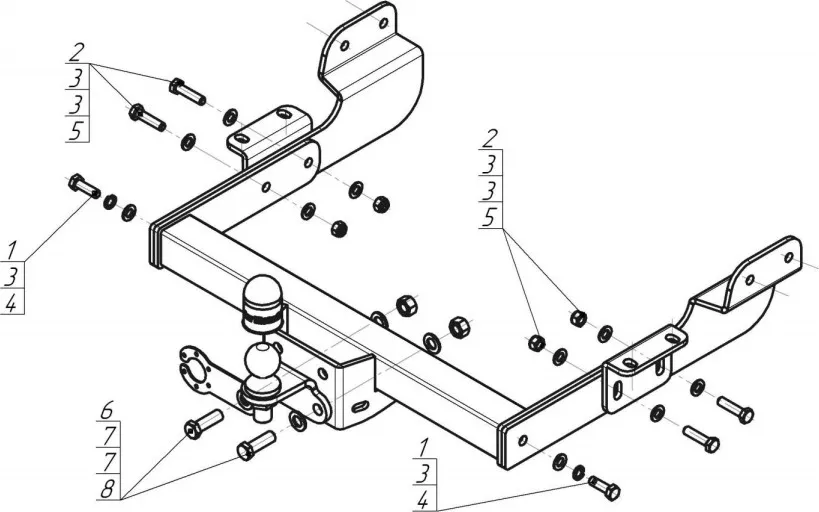
| Характеристики | |
| Толщина | 8 мм |
| Артикул | 90709-FE |
| Вес | 21.5 кг |
| Вырез бампера | Нет |
| Двигатель | Дизельный, V - 2,2 |
| Крепление крюка | Фланцевое крепление (на 2-х болтах) |
| Кузов | Цельнометаллический фургон |
| Материал | Сталь 8 мм |
| Нагрузка | 2500/100 |
| Прочее | Привод: на передние колеса, на задние колес |
| Размер | 700*380*180 мм |
| Тип шара | FE (оцинкованный) |
| Электрика | Приобретается отдельно |
&&&https://cdn.tachka.ru/manuals/motodor/90709fe/upload-PDF-90709-FE.PDF@@@Инструкция по установке&&&https://cdn.tachka.ru/manuals/motodor/certificate/farkop/certificate-2023-2027.pdf@@@Сертификат
&&&





