- Код товара: GW 03
- Доступность:
350р.
| Характеристики | |
| Артикул | GW 03 |
| Вырез бампера | Нет |
| Демонтаж бампера | Нет |
| Крепление крюка | Условно съемный крюк (на болтах) |
| Материал | Сталь с порошковым покрытием |
| Нагрузка | 1200/75 |
| Тип шара | A |
| Установка | от 3000 руб. (c подключением электрики) |
| Электрика | Приобретается отдельно |
![]() | Компания AvtoS (Россия) занимается изготовлением фаркопов на отечественные автомобили и иномарки с 1991 года. Она относится к лидерам среди производителей бюджетных ТСУ.
|
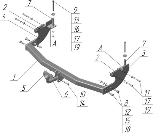
![]() | Фаркоп AvtoS с условно съемным шаром типа А, крепящимся к балке на двух болтах
| ![]() |
&&&https://cdn.tachka.ru/manuals/avtos/gw03/upload-iblock-96d-GW03(паспорт).pdf@@@Инструкция по установке&&&https://cdn.tachka.ru/manuals/avtos/certificate/farkop/certificate-2023.pdf@@@Сертификат
&&&







