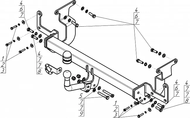
Фаркоп Мотодор для Peugeot Expert III 2016-2025. Артикул 91602-A

  • Код товара: 91602-A
  • Доступность: Нет в наличии

Характеристики
Привод Передний
Толщина 8 мм
Артикул 91602-A
Вес 18.9 кг
Вырез бампера Не требуется
Габариты в упаковке 120x24x27 см
Двигатель Дизельный
Крепление крюка Условно съемный крюк (на болтах)
Материал Сталь 8 мм
Нагрузка 2300/100
Размер 1200x240x270 мм
Тип шара A, Оцинкованный
Электрика Приобретается отдельно
&&&https://cdn.tachka.ru/manuals/motodor/91602a/upload-PDF-91602-A.PDF@@@Инструкция по установке&&&https://cdn.tachka.ru/manuals/motodor/certificate/farkop/certificate-2023-2027.pdf@@@Сертификат
&&&