- Код товара: 92530-A
- Доступность:
673р.
| Характеристики | |
| Артикул | 92530-A |
| Вес | 18 кг |
| Вырез бампера | Нет |
| Габариты в упаковке | 124x27x10,5 см |
| Двигатель | Бензиновый, V - 1.8; 2.0 |
| Крепление крюка | Условно съемный крюк (на болтах) |
| Материал | Сталь 8 мм |
| Нагрузка | 1500/75 |
| Прочее | Привод: Передний, полный |
| Тип шара | A (оцинкованный) |
| Электрика | Приобретается отдельно |
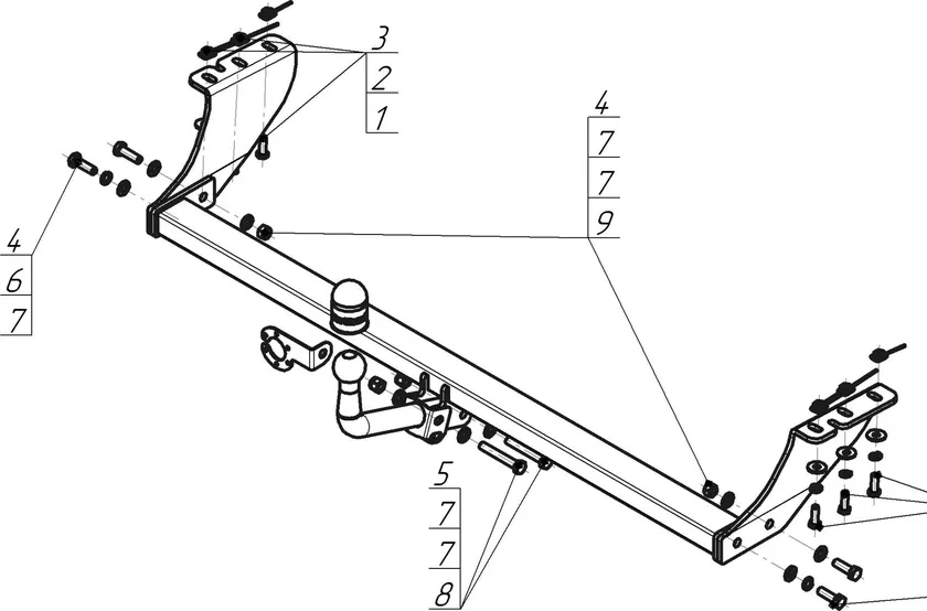
2. Прикрепить боковые кронштейны ТСУ к лонжеронам при помощи болтов М10х30 с шайбами и гр. шайбами 10 и закладных планок.
3. Установить балку ТСУ между кронштейнами при помощи болтов М12х40, гаек М12 с шайбами и гр. шайбами 12.
4. Установить шар и подрозетник, затянуть все крепёжные элементы с необходимым усилием.
5. Выполнить электромонтаж розетки световой сигнализации.
&&&https://cdn.tachka.ru/manuals/motodor/92530a/upload-PDF-92530-A.PDF@@@Инструкция по установке&&&https://cdn.tachka.ru/manuals/motodor/certificate/farkop/certificate-2023-2027.pdf@@@Сертификат
&&&




